Неверный номер телефона
Что-то пошло не так. Попробуйте позже или свяжитесь с нами в телеграме https://t.me/YuryLoskat
ЛПТ
Клапан обратный ЛПТ КОП-32 LS411824
LS411824
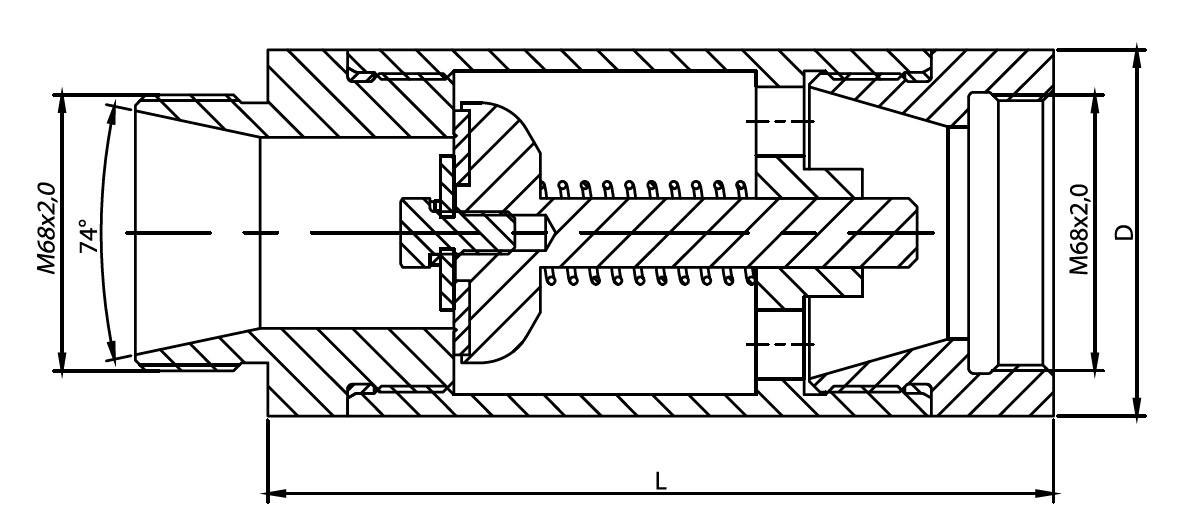
Клапан обратный (КОП) предназначен для пропуска ГОТВ из модулей в трубопровод автоматической установки газового пожаротушения и предотвращения попадания ГОТВ в другие (свободные от ГОТВ) модули, если алгоритм работы установки не предусматривает одновременную подачу огнетушащего вещества из всех модулей, подключенных к общему коллектору.
  • Габаритные размеры длина 173 мм, диаметр 69 мм
  • Рабочее давление 6.5 МПа
  • Диаметр условного прохода 32 мм
  • Диаметр резьбы M48
  • Шаг резьбы 2
  • Температура измеряемой среды -30 °С ... 50 °С
  • Рабочая среда газ; вода
  • Тип оборудования вспомогательное технологическое
  • Длина 97 мм
  • Ширина 53 мм
  • Высота 53 мм
  • Масса 0.97 кг
  • Объем 0.000272 м3

Доступно без регистрации

Преобразование Яндекс Маркет (YML) в Excel

  • Преобразовывайте YML-файл в редактируемый документ формата Excel. Конвертируйте из YML в XLSX онлайн

Преобразование Excel (XLSX) в формат Яндекс Маркет

  • Преобразовывайте Excel-файл в формат Яндекс Маркет XML (YML). Конвертируйте из XLSX в YML онлайн

Скачивание базы штрихкодов (EAN)

  • База содержит информацию о штрихкодах 1 816 200 товаров. Товары встречались в продаже на российском рынке в период с начала 2021 до конца 2022 года

Поиск по библиотеке

  • У нас в базе есть информация о 70 миллионах товаров. Проверьте, есть ли там нужные вам товары.

Генерация инфографики

  • Генерируйте инфографику для ваших изображений

Ключевые свойства товаров

  • Результат анализа миллионов вопросов покупателей о том, что им важно. Сгруппированы по типам товаров

Тип продукта